From a tiny pixelated pet in the 1990s to a vibrant digital world in 2025, Tamagotchi has evolved alongside the very idea of connection itself.
Through the lens of patent drawings and design concepts, this article explores how each generation of Tamagotchi reflected its era — from the simple joys of nurturing life on a small LCD screen to today’s globally connected “Tamaverse.”
Each device is more than a toy; it is a mirror of how technology and emotion intertwine, creating small universes of care within our hands.
1. First Generation Tamagotchi (1996)

The very first Tamagotchi, released in Japan on November 23, 1996, was a true cultural phenomenon.
Created by Bandai and WiZ, this egg-shaped handheld toy let players raise a virtual pet that needed feeding, cleaning, and attention—just like a real living creature.
Its tiny monochrome LCD screen and three simple buttons made it easy to operate, but also surprisingly emotional: if you neglected your pet, it could “die.”
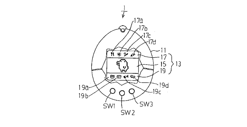
In the early patent drawings, a cute Kuchipatchi can be spotted, capturing the charm that would make Tamagotchi instantly lovable.
The simple interface hid a deeper concept—the responsibility and attachment that comes with caring for something.
Children brought them to school, adults sneaked looks during work, and soon “Tamagotchi” became a global word for virtual pets.
See the official Tamagotchi site for details: https://tamagotchi-official.com/us/series/original/
2. Tamagotchi Plus / Tamagotchi Connection (2004)

After a few quiet years, the Tamagotchi made a strong comeback in 2004 with the release of Tamagotchi Plus (known overseas as Tamagotchi Connection).
The biggest new feature was infrared communication part 204, allowing players to connect two devices and make their Tamagotchi characters meet, play, and even marry.
This version also introduced the Gotchi Points currency and simple data exchange with mobile phones in Japan, signaling the start of a more social Tamagotchi era.
It wasn’t just about taking care of one pet anymore—it was about creating a tiny, interconnected digital world.
See the official Tamagotchi site for details: https://tamagotchi-official.com/us/series/connection/
3. Tamagotchi P’s Love & Melody set (2012)

In 2012, the Tamagotchi series became more colorful—literally.
The Tamagotchi P’s featured a full-color LCD screen and introduced the decorative accessory 200 known as the Tama Deco Pierce, a small plug-in charm that unlocked new characters, games, and themes.
The Love & Melody Set in particular focused on customization and personality.
Players could dress up their Tamagotchi, explore different in-game locations, and meet friends via infrared communication.
It was no longer just a toy; it became a stylish companion that reflected its owner’s personality and mood.
4. Tamagotchi m!x (2016)

The Tamagotchi m!x, released in 2016, took the concept of relationships to a new level.
This time, two Tamagotchi characters could mix their traits to produce an entirely new hybrid baby—creating countless unique combinations.
It was the first time players could literally “design” their next generation through genetics-inspired gameplay.
Colorful graphics, expanded town areas, and playful animation made it one of the most loved modern entries in the series.
Each mixed baby carried the family’s history—ears from mom, eyes from dad—adding a surprising emotional depth to the game.
5. Tamagotchi Uni – The Tamaverse (2023)

In 2023, Bandai launched the Tamagotchi Uni, the first model equipped with Wi-Fi connectivity.
For the first time, Tamagotchi entered the online world through the Tamaverse, a metaverse-style social space where users from around the globe could connect, play, and share their pets’ adventures.
In the related patent drawings, familiar characters such as Memetchi and Neliatchi appear, illustrating how the system manages different avatars within the Tamaverse.
With its smartwatch-like design, color display, and downloadable content (DLC), the Uni blended nostalgia with modern digital culture.
You could visit friends’ virtual homes, attend online events, or trade outfits for your pet—all while keeping the classic nurturing heart of Tamagotchi intact.
See the official Tamagotchi site for details: https://tamagotchi-official.com/us/series/uni/
6. Tamagotchi Paradise (2025)

The upcoming Tamagotchi Paradise, announced for 2025, marks a return to the franchise’s original charm while introducing a fresh sense of immersion.
Early previews show a zoom dial that lets players explore their Tamagotchi’s world from different scales—from cozy room scenes to expansive outdoor settings.
It’s said to combine traditional pet care with a more dynamic, visual experience—perhaps even blending offline and online play.
The concept of “Paradise” suggests a digital ecosystem where your Tamagotchi lives freely, yet still depends on your gentle care.
See the official Tamagotchi site for details: https://tamagotchi-official.com/us/series/paradise/
Patent Attorney’s Thoughts
From the tiny pixelated pet of 1996 to the interconnected Tamaverse of 2025, Tamagotchi has always reflected a single idea:
that even digital creatures can evoke empathy, creativity, and a sense of care.
Each generation adapted to its era, mirroring how our connections—both human and digital—have deepened over time.
Looking through these patents, one realizes that this evolution is not only about technology or play.
It is also about how imagination becomes law—how affection, once coded in pixels, is preserved through intellectual property and reborn in new forms.
Every patent is a quiet testimony that creativity, once nurtured, does not vanish; it transforms, travels, and continues to pulse like the heartbeat of culture itself.
Disclaimer: This content is an AI-generated reinterpretation based on a patent drawing.
It is provided for educational and cultural purposes only, and not as legal advice.
↓Related drawing↓



