
本文由具有专利文件和技术图纸分析经验的日本专利代理师撰写并审核。本网站不仅将日本专利图纸视为法律资料,也将其作为体现可视化技术与折叠结构创新思维的表达形式进行介绍。本文将解读一项与具有多面图像的可折叠纸相关的专利,重点分析其如何将视觉呈现和折叠结构转化为结构清晰且创新的技术设计。
引言:一张纸呈现多个画面
本专利展示了一种 通过折叠方式切换不同图像的纸张结构。用户根据折叠方向的变化看到不同的画面,使普通纸张拥有“多面展示”的互动特性。
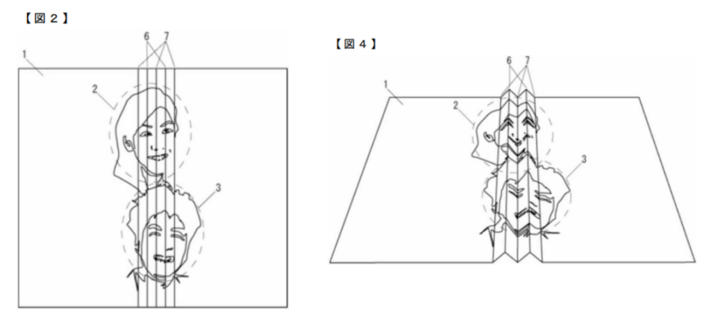
专利图展示的结构特点
纸张被分成多个可折叠的区块;折线作为铰链,使纸张能够向不同方向折叠;各区块上印有不同图像,并在不同折叠状态下露出;随着折叠顺序的变化,新的图像不断呈现;整个结构依靠手动交互完成。
系统如何运作
用户沿着指定折线折叠纸张;折叠后露出的表面构成某一图像;重新展开并以另一个方向折叠,则会显示新的图像;一个纸张可以实现多次视觉切换,带来探索乐趣。
这种设计的优势
使多图显示更加紧凑;适合教材、儿童读物、贺卡与互动宣传品;增强动手体验;可作为益智玩具或艺术创作形式;低技术门槛却有高互动性。
工程与印刷考量
折线必须耐用并便于反复使用;纸张厚度需兼顾稳定性与可折性;多个图像需精准对位;表面需耐磨;印刷过程需准确匹配所有折叠状态。
专利律师的想法
纸张在折叠间形成“顺序与揭示”,每一次转换都是新的视觉瞬间。这项发明把简单的折叠动作变成叙事与探索的一部分。
本技术的应用领域:多维折叠界面与可切换叙事空间设计系统
原始发明要点
- 同一张纸通过不同折法呈现不同图案。
- 指定折痕结构决定可见与隐藏的图像。
- 通过物理操作(折叠)实现顺序式视觉变化。
- 在二维纸面上编码多个“状态”。
抽象化后的概念
- 利用折叠逻辑在单一表面上储存多层信息。
- 通过几何形态触发特定内容的呈现。
- 折叠作为访问不同信息层的交互方式。
- 以形状变化来实现叙事或信息流程的切换。
转用方向
- 通过折叠表面(纸张、织物、柔性屏幕)进入不同叙事层、隐藏数据或平行视界的“现实折叠界面”。
具体化呈现
柔性电子纸上印有多层隐性图案,并内置折叠感应器。当折成不同几何形状时,对应的图像、AR信息或故事片段会被激活。一种折法呈现古代文明,另一种折法展现其未来,还有一种折法开启平行时间线。纸张成为多维故事入口:几何结构决定叙事走向,折叠即“切换世界”。
↓相关图↓



