
本文由具有专利文件和技术图纸分析经验的日本专利代理师撰写并审核。本网站不仅将日本专利图纸视为法律资料,也将其作为体现育儿场景中舒适性与实用性工程创意的表达形式进行介绍。本文将解读一项与配备护膝的婴儿尿布更换台相关的专利,重点分析其如何将看护者的舒适性需求转化为结构清晰、实用性强的设计方案。
引言:在照顾者与婴儿之间取得更好的平衡
更换尿布是一项重复且容易造成膝部和腰部疲劳的任务。本专利展示的 带膝垫的婴儿尿布更换台,通过整合膝部缓冲和安全支撑结构,使照顾者与婴儿都能获得更舒适、更安全的体验。
专利图展示的结构特点
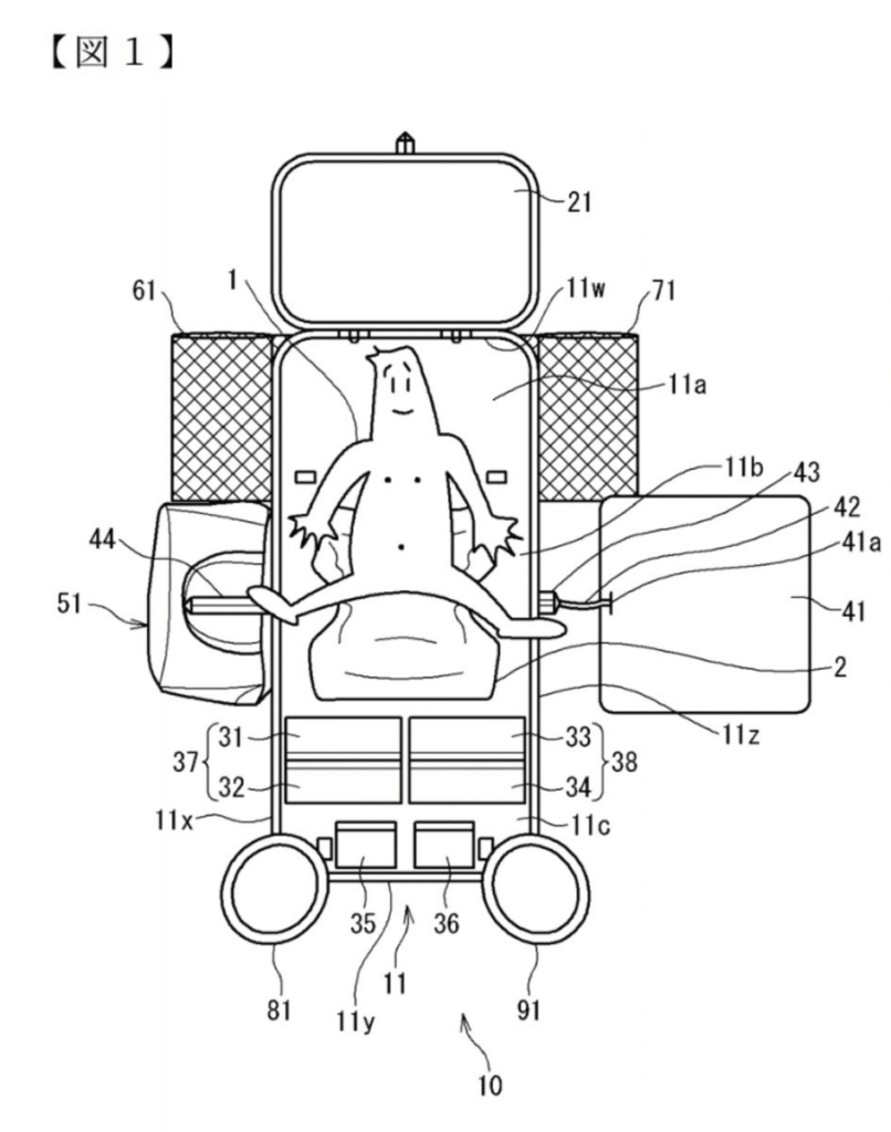
图中包含设置在更换区域两侧的膝垫;带有侧面支撑的婴儿更换垫;用于防止婴儿滚落的定位结构;触手可及的储物空间;以及适用于家庭与托育环境的稳固支架。设计同时关注操作效率与安全性。
系统如何运作
照顾者跪在膝垫上,可显著减轻膝部压力。婴儿被放置在柔软的更换垫上,由侧面支撑保持稳定。储物区域靠近工作位置,使照顾者无需移动即可取用尿布与湿巾,从而保持对婴儿的持续关注。整个流程顺畅而高效。
这种设计的优势
减轻照顾者身体负担;提升婴儿安全性;提高操作效率;适用于家庭、托幼机构与专业护理场所;为育儿家具提供进一步的设计价值。
工程与使用安全考量
膝垫材料需具备良好耐久性与弹性;侧支撑应稳固且无尖锐边缘;储物区需易清洁且布局合理;整体结构需具备稳定性;材料需适合高频率使用。
设计重点在于:减少疲劳、提升安全、便于维护。
专利律师的想法
换尿布看似简单,却构成照顾日常的一大部分。
通过支持照顾者的身体并保护婴儿,这项发明让日常护理变得更温和、更人性化。
本技术的应用领域:人体照护者姿态同步与微重力支撑界面系统
原始发明要点
- 尿布更换台上集成了照护者用的护膝。
- 结构提高稳定性,减少姿势负担,使照护者贴近婴儿。
- 表面角度与缓冲材料提供安全的跪姿与前倾支撑。
- 提升照护者舒适度,从而提高操作精度与安全性。
抽象化后的概念
- 在照护者与被照护者之间建立“姿态同步”的人体工学关系。
- 利用表面几何减少身体与认知负担。
- 在环境中嵌入“相互支撑区域”。
- 通过结构同时保护照护者与弱势个体。
转用方向
- 在微重力或低重力环境中,利用支撑地形与姿态锁定点,让宇航员能够执行精细的照护任务(人类、机器人、生物样本等)。
具体化呈现
在太空栖息地中,失重会让精细照护工作几乎无法进行。模块化支撑板上布置了膝部、肘部、脚部与髋部的锚定纹理。当宇航员触碰这些区域时,微型挂钩与柔性吸附结构会轻柔地“锁定姿势”。无需束缚,即可稳定地照护婴儿、处理生物实验样本或修复微型机器人。该装置成为通用零重力照护平台,将“姿势本身”转化为支撑技术。
↓相关图↓



