
本文由具有专利文件和技术图纸分析经验的日本专利代理师撰写并审核。本网站不仅将日本专利图纸视为法律资料,也将其作为体现空间设计、用户动线与环境控制等工程创意的表达形式进行介绍。本文将解读一项与一体化沐浴与桑拿设施相关的专利,重点分析其如何将空间布局与使用体验转化为结构清晰、整体协调的技术方案。
引言:将“洗浴”与“桑拿”整合在同一空间
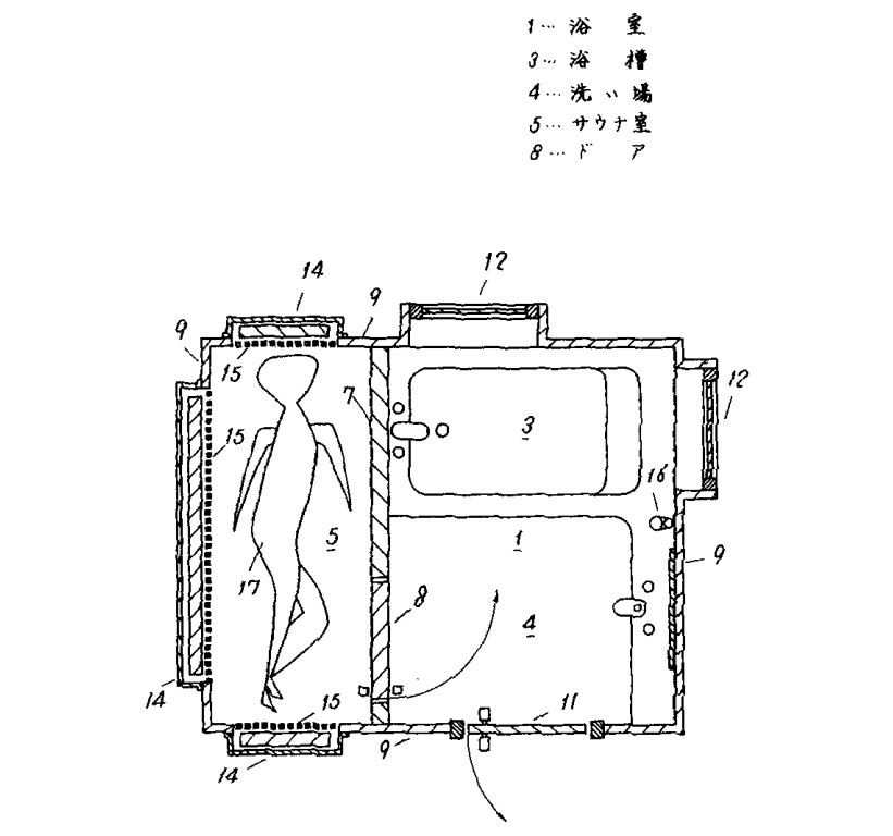
现代家居与养生空间强调放松体验与空间效率。本专利展示了一种 一体化的沐浴与桑拿设施,把浴缸与蒸汽/干式桑拿舱组合在同一个结构中,使用户能够在一个紧凑的空间中完成两类放松程序。
专利图展示的结构特点
图中可见浴缸与桑拿舱并排布置;以透明或半封闭隔板保持空间连贯;专用加热单元维持桑拿温度;蒸汽与供水共用管线降低安装成本;台阶或座板帮助用户在两种模式之间切换。整体设计强调舒适动线与空间整合。
一体化沐浴与桑拿系统如何运作
用户先在浴缸中清洁与放松;随后直接进入相邻的桑拿舱;桑拿通过加热装置维持蒸汽或干热;共享的管线使安装更简易;耐高温材料确保两种区域都能安全使用。连贯的空间让体验更加顺畅舒适。
这种设计的优势
节省空间,适用于住宅与小型SPA;热量转换自然,有助于身体放松;共享结构减少施工成本;让沐浴流程更具连贯性;非常适合酒店、度假村或现代化家庭改装。
工程与使用舒适性考量
材料需防潮且耐热;桑拿区域需有良好隔热效果;入口地面需防滑;通风设计必须处理湿度;隔板需具备良好的密封性以保持温度区分。安全性与舒适度同等重要。
专利律师的想法
当空间被温柔地整合,放松自然更深。
这项发明以一体化设计让洗浴与桑拿形成统一节奏,为身心带来更连贯的恢复体验。
本技术的应用领域:多相热调控意识引导与环境过渡式栖居系统
原始发明要点
- 洗浴空间与桑拿空间一体化,使用户可连续移动。
- 在热、温、凉的阶段之间自然过渡。
- 布局控制湿度、热流与人流的互动效率。
- 通过连续热刺激提升放松、循环与舒适度。
抽象化后的概念
- 通过环境设计引导人体进入不同生理状态。
- 以空间连续性实现感官阶段的渐进切换。
- 多阶段热刺激作为结构化体验周期。
- 将身体变化嵌入建筑动线。
转用方向
- 温度、湿度、气流、光线、声场依序变化的“意识调控栖居系统”,引导情绪、认知与想象的流动。
具体化呈现
空间不以墙壁分隔,而以渐变带划分:微温暮色区 → 辐射热区 → 冷雾过道 → 静风冥想洞。使用者行走其中,体温、呼吸、心境会随空间轨迹发生变化。生物光照随心跳律动,气流携带着相位变化的香气。
整个空间像穿越季节、梦境与意识层次的旅程。浴场与桑拿成为“由环境雕刻意识”的原型技术。
↓相关图↓



